Sex toy patent fails to satisfy Section 40

Simple Mechanical Invention

A recent Federal Court decision highlights the importance of an expertly prepared patent specification and the drafting challenges that can arise in the context of a simple mechanical invention.

For a patent to be valid, the patent coverage must be clearly defined and the patent must provide technical detail that justifies the patent coverage. The text and figures of a patent are called the patent ‘specification’ and the definitions of coverage are called ‘claims’. In Australia, the specification requirements are set out in Section 40 of the Patents Act 1990:

Section 40 of the Patents Act 1990

The recent Court decision concerned Australian patent no. 2018200317 ‘Pressure Wave Massager’ which relates to the Satisfyer Pro 2™. Vibrator Review ranks the Satisfyer Pro 2™ as the fifth-best clit sucker of 2025 (here). Amongst other things, the Court held that the patent fell short of the clarity and justification requirements.

The invention disclosed

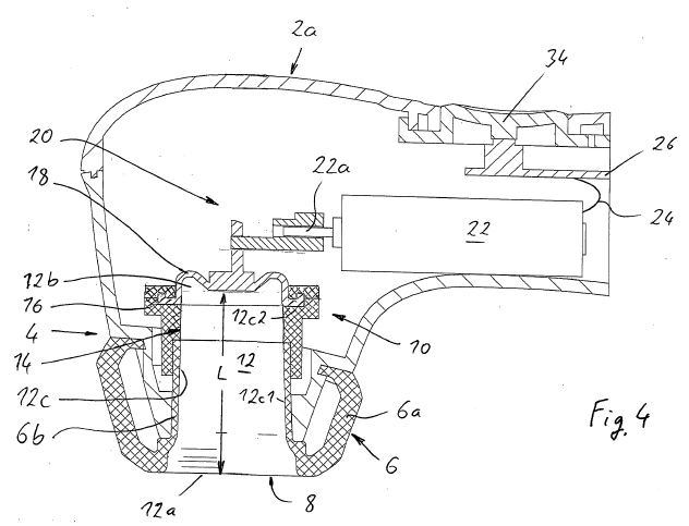
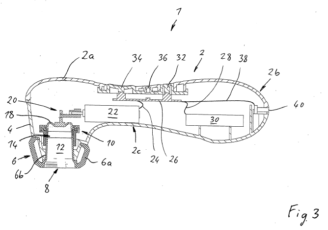
The patent describes a device 1 comprising a motor 22 that moves membrane 18 back and forth (via eccentric connection 20) to produces a ‘stimulating pressure field’ in the cavity 12 when the opening 8 is placed over a clitoris.

Perspective view of the mechanical invention
Cross-section view of the mechanical invention
Detail of the mechanical invention
Pressure signal from the mechanical invention

The invention covered

Claim 1 (on page 13 of the patent) defines the outer bounds of the patent coverage:

‘1. A compression wave massage device when used on the clitoris, comprising:

a pressure field generation device comprising at least one cavity with a first end and a second end, located opposite the first end and distanced from the first end, with the first end being provided with an opening for placement over the clitoris; and

a drive device configured to generate a change of the volume of at least one cavity between a minimal volume and a maximum volume such that in at least one opening a stimulating pressure field is generated, wherein the cavity is formed by a single chamber and the ratio of the volume change to the minimal volume is not below 1/10 and not greater than 1.’

Generally speaking, a patent claim:

  • only covers devices (or methods, etc) that have each and every feature specified in the claim; but
  • is invalid if it
    • covers anything that was publicly known before the claim’s ‘priority date’ (so the invention is said to lack ‘novelty’) and/or
    • covers anything that obviously follows on from what was publicly known before the priority date (so the invention is said to lack an ‘inventive step’).

So, there is a trade-off: the more a claim covers, the less likely it is to be valid. The priority date is usually the filing date of the earliest formally-related patent application.

In this particular case, the other claims are narrower versions of claim 1 that cover less, to give the patent owner ‘fall-back’ positions in case claim 1 falls short on novelty and/or an inventive step, and the priority date was 11 October 2019.

Lack of clarity

The patent was held to be invalid because the claim wording relating to the magnitude of the pressure variations was unclear. The final lines of the claim specified that ‘the ratio of the volume change to the minimal volume is not below 1/10 and not greater than 1’. The Court referred to this ratio as the Volume Change Ratio (VCR).

The difficulty (for the patent owner) started with scope to argue as to interpretation of the volumes mentioned in the claim wording:

  • On the one hand, the claim mentions ‘when used on a clitoris’.
  • On the other hand, a patent claim should be interpreted in the context of the patent specification read as a whole and the specification explained that ‘The volume of the cavity is defined as the volume of a chamber which ends in the proximity of the opening in a virtually planar area, which virtually closes the opening’.

The Court held that the volumes related to the volumes remaining in the cavity when the device was used on a clitoris (without reference to any notional planes, etc). Along the way to this holding, the Court emphasised (at paragraph 142) earlier case law explaining that ‘Plain language must be given its plain meaning, and clear words in a claim must not be given an unnatural meaning by imposing glosses drawn from the body of the specification’.

Based on this interpretation of claim wording, the Court explained at paragraph 210:

‘In conclusion, the Patent does not identify the starting position for the membrane or account for the presence of the clitoris in the cavity. This is a critical deficiency as these variables affect the VCR. Further, the method of measurement of the VCR of the device which is taught by the Patent (using a virtual planar surface) is not a method of measurement of the device when used on the clitoris because (a) the cavity will be airtight in the laboratory but not when the device is so used and (b) the volume of the cavity will be larger in the laboratory than when the device is so used due to the presence of the clitoris. Finally, specifying the VCR is meaningless when the device is used on the clitoris underwater and the cavity is full of water as there will be no effective volume change.’

Insufficient disclosure

Due to this lack of clarity, the Court held the claim was invalid also because the specification did not ‘disclose the invention in a manner which is clear enough and complete enough…’. At paragraph 252:

‘For the same reasons given in [connection with clarity], the Patent does not enable the PSA to make the claimed compression wave massage device without undue burden, with the consequence that the Patent fails to comply s 40(2)(a) of the Patents Act.’

Lack of support

At paragraphs 254 and 255 the Court explained:

‘As there is no experimental or other data in the Patent which justifies the VCR which is claimed in the VCR integers, the patentee has claimed a monopoly over a device which includes changes in the range of volume of at least one cavity that are not the product of the technical contribution to the art provided by the specification. 

As a consequence, the claims are invalid for want of support.’

How might these issues have been avoided?

I have sympathy for those responsible for the VCR wording:

  • the outline above is a simplified summary of one part of a bigger picture;
  • the claim wording was not the result of a clean-sheet drafting exercise, but rather the result of amendments over time (e.g. ‘when used on the clitoris’ was introduced by amendment most likely in response to novelty and/or inventive step objections raised by patent examiners);
  • no doubt the amount of money spent to persuade a Court that there were shortcomings in the wording was two orders of magnitude higher than the money spent to choose the wording; and of course
  • everything is easy in hindsight.

Nonetheless, it is useful to look back and consider ‘how might these issues have been avoided?’.

‘While it is wise to learn from experience, it is wiser to learn from the experiences of others.’

– Rick Warren

Can the VCR claim wording simply be eliminated?

Much like the Hierarchy of Controls in OH&S, elimination is a first thought that comes to mind.

Engineering heirarchy of controls

The claim already mentions ‘a compression wave massage device when used on the clitoris’ and ‘stimulating pressure field’, which imposes some implicit limitations on the magnitude of the pressure variations.

Are the limitations introduced by the VCR claim wording necessary to avoid covering old and/or obvious technologies to satisfy the novelty and inventive requirements? If not, simply eliminating the VCR claim wording would be a good option, or at least would have been back when the initial patent application was prepared and there was complete freedom to choose optimal wording.

Forcing an interpretation of ‘volume’

In this case, the drafters set out how they intended ‘volume’ to be interpreted by including ‘the volume of the cavity is defined as the volume of a chamber which ends in the proximity of the opening in a virtually planar area, which virtually closes the opening’ in the descriptive text of the patent (i.e. not within the claims).  

Difficulty arose because the Court considered volume to be an ordinary English word that could be interpreted in the context of the claim and therefore declined to adopt the intended meaning. The outcome may have been different if ‘volume’ had been replaced with another term such as ‘Effective Volume’ clearly intended to convey a different meaning.

Defining a workable test standard

Even if the intended meaning of ‘volume’ had been adopted, there are foreseeable difficulties:

  • in the context of an opening defined by non-planar surrounding material, the location of the ‘virtually planar area’ could be debatable; and
  • even if the location of the virtually planar area is agreed upon, the remaining volume will depend on the compliance of the membrane, the compliance of the clitoris and the seal at the clitoris-opening interface.

Presenting a clearly defined testing protocol and clearly tying that into the claim language would be an option – e.g. the claim might specify a magnitude of pressure variation when the device is applied to a clitoris proxy comprising a sphere of certain diameter, compliance, surface finish and surface lubrication, and having a through-hole connected to a pressure sensor.

Adding a proxy for pressure variation

Another option might be to specify readily measured parameters such as motor speed and power draw that are related to the pressure variation.

A combination of approaches

A single patent application might include separate claims separately focusing on the different options outlined above, e.g. an independent claim might be presented without the VCR wording (or any replacement) along with three dependent (fall-back) claims that a) include VCR wording modified to force an interpretation of ‘volume’, b) define a workable test standard, and c) specify a proxy for pressure variation.

Further Reading

Patent Fundamentals

How to Patent an Idea

Patent Attorney Mechanical Engineer

Are You Ready To Get Started?

Don’t wait for competitors—secure your rights today.